- 地址:
- 河北省泊頭市富鎮開發區
- 傳真:
- 0317-8041117
- Q Q:
- 28505225
除塵系統自動控制設計
一、除塵系統自動控制設計注意事項
① 除塵設備類型、規格、用途、操作方法多種多樣,相互間差別較大,自動控制系統要針對具體除塵系統和具體設備有針對性地進行自動控制沒計。
② 除塵系統凈化有爆炸性、腐蝕性或潮濕、有害含塵氣體時,自動控制裝置應做相應的防爆、防靜電、防腐蝕等技術處理。
③ 除塵設備一般露天設置,除塵現場的盤、箱、柜等自動控制裝置應注意防雨、防塵、防護等級要高。
④ 自動控制在滿足除塵工藝需要的情況下盡可能簡單可靠。
二、袋式除塵系統的自動控制
1.袋式除塵器工作特點
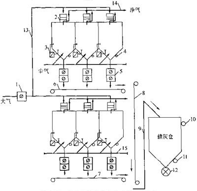
負壓反吹風袋式除塵器處在風機的負壓端,除塵器采用下進風上排風內濾式結構,且具有相互分隔的袋室。當某一袋室進行清灰時,通過拄制閥門的啟閉,使濾袋反復脹癟數次;抖動濾袋,使粉塵落人灰斗,通過輸灰和排灰裝置把粉塵運走,凈化的氣體從濾袋孔隙流過,通過排風管排入大氣。圖11~6為負壓反吹風袋式除塵器系統流程示意圖。

圖11-6 負壓反吹風袋式除塵器系統流程
1-0號閥;2-三通換向閥;3-差壓變送器;4-振打器;5-雙層卸灰閥;6-1號切出刮板輸送機;7-2號切出刮板輸送機;8-集合刮板輸送機;9-口斗式提升機;10-口料位控制器;11-振打器;12-旋轉給料器;13-反吹風管;14-排風管;15-進風管
2.除塵器控制內容
除塵器控制內容為反吹風清灰、卸灰和排灰,并要求設備能進行單動和聯動運轉的控制。
設單動的目的是為了設備單體調試時在除塵器現場手動操作。
在聯動運轉時,除塵器清灰系統采用定時或差壓控制,并與刮板機連鎖,只有在刮板機運轉時,方可清灰;清灰的周期,清灰程序中過濾、反吹和沉降時間,能根據運行狀態進行調整。
(1)順序啟動 從除塵器電氣室或中央控制室發出運轉指令,斗式提升機運轉,幾分鐘后集合刮板輸送機運轉,再幾分鐘后切除刮板輸送機運轉;同時清灰系統和卸灰系統開始工作。斗式提升機要與儲灰倉滿料位控制器連鎖。只有在正常料位時,斗式提升機才能啟動。
(2)順序停止 從除塵器電氣室或中央控制室發出停止指令(壓縮空氣壓力達到下限及儲灰倉滿料位),切出刮板輸送機、清灰系統和卸灰系統停止運行,幾分鐘后集合刮板輸送機停止運轉,再幾分鐘后斗式提升機停止運轉。
(3)事故停止 儲灰倉料位到滿料位、壓縮空氣壓力達到下限(閥門是由氣動控制)和輸灰設備發生機械故障,若幾分鐘后不消失,機械設備按正常停機程序停止輸灰設備,并向除塵器電氣室及中央控制室發送故障信號。
3.自動控制過程
(1)反吹風清灰控制過程 反吹風采用負壓吸入大氣方式反吹清灰,反吹清灰采用三種狀態清灰方式進行分室清灰,陳塵器正常運行時,含塵氣體從灰斗上的入口短管進入除塵器內,其中較粗顆粒的粉塵在灰斗中自然沉降,較細微的粉塵隨氣流上升進入濾袋,使濾袋成鼓脹狀態。由于碰撞、篩分、鉤住、截留等效應,粉塵被阻留在濾袋內壁表面,從濾袋出來的干凈氣體經排風管、風機和煙筒排入大氣。當濾袋內壁粉塵層運漸增厚,使濾袋阻力也相應增高,在達到規定值后,即各室輪流進行反吹清灰。清灰開始首先打開該室三通換向閥的反吹風口,關閉排風口,使反吹風管與濾袋室連接,濾袋內側處于負壓狀態,從濾袋外向內吸入反吹風氣體(室外大氣),由于經過濾袋的氣流方向突然改變,濾袋由鼓脹狀態變成吸癟狀態,重復2~5次使得積附于濾袋內壁的粉塵層也破裂脫落掉入灰斗后;關閉該室排風口及反吹風口的0號閥門(反吹風閥門),使濾袋室內暫時處于無流通氣流的靜止狀態,這是集中沉降方式(分散沉降方式是在濾袋每一次吸癟動作之后,安排一段沉降時間)反吹完畢后打開三通換向閥排風口,恢復正常過濾狀態,再進行下一個室的反吹清灰。圖11-7為集中沉降方式清灰示意圖,圖11-8為分散沉降方式清灰示意圖。
(2)卸灰、輸灰和排灰控制過程 灰塵落入灰斗內,經過一段時間后開始卸灰,先打開雙層卸灰閥下閥;幾秒鐘后,關閉下閥,再打開上閥;幾秒鐘后,關閉上閥;如此反復幾次,后灰斗振動器振打幾秒鐘,這個室卸灰結束。再進行下一個室的卸灰。卸灰的次序:先從靠近儲灰倉比較好個室開始卸灰(見圖11-9),即比較好室開始卸灰,然后第六室卸灰、第二室……后第十室卸灰,如此循環下去。這樣卸灰使灰塵落入切出刮板輸送機后,及時運到集合刮板輸送機,不會使切出刮板輸送機造成過負荷運轉。如果除塵器的灰量大。室與室之間卸灰的間隔時間短。
(3)控制儀表和顯示 為了測量除塵器的阻力,觀察各室清灰效果,除塵器安裝了差壓變送器。分室差壓變送器的高壓端取壓口在灰斗上方位置,低壓端取壓口在濾袋室下部位置??偛顗鹤兯推鞲邏憾巳嚎谠诔龎m器入口位置,低壓端取壓口在除塵器出口位置。
為了顯示儲灰倉灰量,住儲灰倉安裝1臺電容式料位計,這種設備可以隨時測出料倉儲灰量狀態。當儲灰倉料位到達上限位置時報警,料位到達滿位置時,除塵器按照正常停機程序停止運行。
(4)報警 除塵器上的三通換向閥、0號閥及雙層卸灰閥都是氣動控制的,壓縮空氣的壓力大小直接影響除塵器設備正常運行,所以在壓縮空氣儲氣罐上安裝1臺帶電接點的壓力表,當壓力達到設定的下限值時報警,除塵器按照正常停機程序停止運行。
輸灰系統的設備,如斗式提升機、集合刮板輸送機和切出刮板輸送機的鏈條因某種原因會拉斷,為了防止斷鏈現象發生,在各設備的尾端安裝一個二線制感應式接近開關,在軸上裝上1只圓盤,圓盤每90°開一個長孔,如圖11-10所示。當鏈條轉動時,圓盤也隨著轉動,當圓盤沒開孔的地方遮住接近開關時,向PLC發出一個信號,PLC計數;假定圓盤從開孔位置轉到沒開孔位置時間是3s,當鏈條卡住轉速下降,測出圓盤從開孔位置到沒開孔位置時間超過3s,PLC發出報警信號,輸灰設備停止運行。
4.控制邏輯框圖
袋式除塵系統自動控制邏輯框圖如圖11-11所示。除塵自動控制的內容是隨系統大小變化的,控制邏輯框圖也會有變化,圖11-11是一種比較典型的自動控制邏輯框圖。

下一篇:袋式除塵器的使用
